Назначение датчика положения дроссельной заслонки
Датчик положения дроссельной заслонки — устройство электронного типа, передающее сведения о положении механизма, необходимого для поддержания давления, в отдельный отрезок времени, на электронную панель управления ДВС машины. ДПДЗ характеризуется постоянным и переменным резистором.
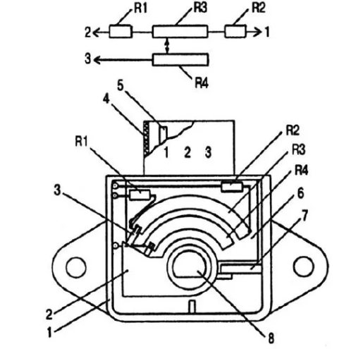
Датчик положения дроссельной заслонки; 1 — корпус; 2 — поворотная втулка; 3 -подвижной контакт; 4 — штекерная колодка; 5 — штекер; 6 — печатная плата; 7 — упор; 8 — ось дроссельной заслонки; Rl. R2. R3 и R4 -сопротивления.
Сопротивление механизма – 8 Ом. Комплектация датчика дроссельной заслонки ВАЗ включает 3 проводка. На два из которых передается напряжение — 5 вольт, а 3, представляет собой сигнальный проводок, сопряженный с контроллером.
Перемены в сопротивлении датчика дроссельной заслонки образуются:
- Когда дроссель полностью открыт, а на 3 проводке максимальное напряжение равняется 4 В.
- Когда дроссель в закрытом состоянии, на 3 проводке напряжение — 0,7 В.
Контроллер производит настройку напряжения, если оно изменится. Это воздействует на регулирование бензина, поступающего в мотор транспортного средства.
Когда напряжение дросселя превышает установленные границы, то мотор начнет работать в хаотичном порядке, или на высоких оборотах или глохнуть.
Когда датчик дросселя в неисправном состоянии, то деятельность коробки переключения передач осуществляется с перебоями.
Коробка переключения передач, представляет собой второй механизм после мотора, который сложно сменить, а восстановление его, требует не малого расхода средств. Как только появляются признаки неисправности датчика положения дроссельной заслонки, желательно перестать пользоваться автомашиной и в кратчайший период сменить сломавшуюся деталь.


ГАЗ 31 «БРИГАНТИНА»™ › Бортжурнал › ДПДЗ — датчик положения дроссельной заслонки
26.02.14. — думал удалить запись, т.к. вроде ничего тут такого шибко заумного нет… только вот ребята ниже дали очень много советов и я считаю достаточно грамотных! Хлопцы вам респект, а тем кто ищет инфу по ДПДЗ, работе дросселя, переходе с дросселя 406го на 405й, особо РЕКОМЕНДУЮ!
Менял данный датчик ещё в августе прошлого года. Никуда не ездил, всё сам, но вот сейчас в бж Макса с Сандерсом наткнулся на такой комент: …дпдз по компу надо ставить, чтобы он показывал положение дросселя в 0%. Мб из-за этого появились последние траблы ( запуск с педалированием, чутка подтупливает)? Что скажете хлопцы?
Да, хх на горячую в норме!
Признаки, свидетельствующие о поломке ДД
При незначительных поломках и полном изнашивании механизма возникают характерные черты:
- Непостоянность оборотов на холостом ходу. Мотор может работать на высоких оборотах, или полностью заглохнуть.
- Если резко отпустить педаль газа в процессе переключения скоростного режима, двигатель внутреннего сгорания перестает работать.
- Интенсивность работы мотора сильно снижена. Транспортное средство не едет ни на подъем, ни по ровной местности.
- Уровень расхода горючего возрос.
- При осторожном нажатии педали газа, автомобиль разгоняется рывками.
Во многих автомашинах на приборной панели возникает строка Check Engine, через непродолжительный период тухнет, а затем снова загорается. При появлении такой надписи следует делать диагностику, потому что силовой агрегат может перестать действовать под воздействием любого фактора
Проверка датчика положения дроссельной заслонки
Если был обнаружен хоть один из приведенных признаков, то следует произвести проверку деятельности датчика дросселя. Это сделать не так сложно, и не нужны умения электронщика. Необходим будет только один из приборов: мультиметр или вольтметр.
Большинство автовладельцев продолжают эксплуатировать автомашину, невзирая на появившуюся надпись Check Engine. Это не правильно, следует в кратчайшие сроки посетить мастерскую, или уладить возникшие сложности самостоятельно.
Если работа мотора производится правильно, то надпись Check Engine будет появляться на приборной панели при запуске двигателя.
Проконтролировать верное функционирование датчика положения дросселя можно, выполнив последовательность работ:
- Запустить мотор и проконтролировать включилась ли надпись Check Engine. При отсутствии таковой, следует открыть капот и внимательно осмотреть датчик дросселя.
- На следующей стадии понадобится мультиметр. Следует обнаружить «+». Это возможно определить, проколов провода.
- Далее следует найти массу.
Последовательность деятельности по обнаружению поломок датчика положения дросселя, если характерные черты неисправностей проявили себя в процессе движения транспортного средства:
- Запустить двигатель и по очереди проколоть контакты острием мультиметра в режиме Вольтметра и зафиксировать напряжение, размер которого должен быть равен 0,7 Вольт.
- Теперь ручным способом снять дроссельную заслонку, напряжение при этом должно быть не менее 4 В.
- Запустить мотор, откинуть один из разъемов. Теперь в пространстве между выходом ползунка и оставшимся проводом следует присоединить щуп измерительного механизма.
- Не убирая щуп механизма, ручным способом, прокрутить раздел и проконтролировать показания прибора. Когда напряжение возрастает медленно, без рывков, то это значит, что деятельность датчика осуществляется без помех. Когда количество вольт перескакивает через несколько чисел, значит неисправны дорожки резистора.
Напряжение датчика влияет на то, какие сигналы даст электронный блок управления остальным механизмам: какое количество горючего или воздуха подать. Поэтому дроссельный запор считается немаловажной составной частью, оказывающей воздействие на деятельность двигателя.
Сбои в функционировании дросселя распознаются следующим образом: если дроссельная заслонка открыта, а прибор сигнализирует об обратном, то следует произвести замену датчика положения дроссельной заслонки.
Проверяем датчик измерив сопротивление между соответствующими выводами
Проверьте датчик положения дроссельной заслонки, измерив сопротивление между соответствующими выводами разъема датчика при различных положениях дроссельной заслонки.
| Дроссельная заслонка | Выводы | Сопротивпе ние, кОм |
| полностью закрыта | VTA-E2 | 0.2 — 5.7 |
| полностью открыта | VTA-E2 | 2,0-10.2 |
| — | VC-E2 | 2.5-5.9 |
Снятие ДПДЗ с автомобиля
Никакая регулировка датчика дроссельной заслонки не потребуется, если вы устанавливаете оригинальную запчасть с такими же характеристиками, как у той, которая вышла из строя. Вы знаете самые распространенные причины поломок ДПДЗ, разобрались с тем, какие элементы чаще всего выходят из строя. Но как же сэкономить на ремонте? Именно этот вопрос стоит рассмотреть более детально. Необходимо заметить, что самостоятельно восстановить резистивный слой невозможно. Если у вас вышел из строя датчик положения дроссельной заслонки, то необходимо его полностью заменять. Чтобы произвести замену ДПДЗ, вам нужно сначала снять старый. При этом отключаете питание посредством снятия клемм с аккумуляторной батареи. Провода, идущие к датчику, также необходимо отсоединить. Далее выкручиваются болты крепления, после чего ДПДЗ извлекается.
Замена датчика положения дроссельной заслонки
Изготовитель автомобилей ВАЗ, оснащает их датчиками, характеризующимися небольшим сроком использования. Замена датчика дроссельной заслонки при возникновении проблем будет самым хорошим решением.
Дроссель состоит из ротора и статора. Ротор — элемент, на изготовление которого пошли материалы, не подвергающиеся воздействию магнитного поля, в основе ротора находится магнит. Статор, это составная часть дросселя, очень хорошо реагирующая на магнитное поле. Он находится от магнита на отрезке постоянной величины, а в процессе сборки прибора настраивается нужным образом.
Замена датчика происходит следующим образом:
- Запустить двигатель и отсоединить провод от отрицательной клеммы аккумулятора.
- Отжать пластиковую защелку и отключить колодку с проводами от пластика. Датчик дроссельной заслонки снять очень просто отвернуть два болта, воспользовавшись отверткой.
- Поставив датчик туда, где ему следует быть, следует подсоединить блок проводов, настройки никакой не нужно.
Ремонт датчика положения дроссельной заслонки
Произвести ремонт датчика положения дроссельной заслонки в обычных условиях сделать практически нереально. Один из способов, позволяющих отремонтировать датчик, это перемещение резистивных дорожек относительно ползунка. Для этой процедуры, в датчике нужно найти винт, регулирующий расположение дорожек относительно ползунка. Если резистивный слой максимально изношен, есть возможность открутить болт и переместить его в место, не доступное ползунку. Так можно произвести ремонт датчика дроссельной заслонки и избежать его замены.
Как распознать поломку датчика положения дроссельной заслонки?
Необходимость отремонтировать или поменять контроллер может возникнуть при следующих симптомах:
- Двигатель автомобиля стал нестабильно работать на холостом ходу. Обороты иногда произвольно снижаются и увеличиваются. Жать на педаль газа для этого не нужно.
- Двигатель машины произвольно глохнет, часто это происходит при переключении рычага КПП из одного положения в другой. Также мотор может заглохнуть при движении на нейтральной передаче либо стоя на светофоре.
- Увеличивается расход потребления топлива.
- Нестабильное поведение холостых оборотов. Это не зависит от режима работы двигателя.
- Снижается мощность силового агрегата. Это можно заметить при езде в гору на повышенной скорости. Если переключиться на более низкую передачу, мощность мотора увеличится.
- При резком разгоне либо движении на невысокой скорости могут проявляться рывки двигателя, когда водитель жмет на газ.
- Произвольное отключение силового агрегата машины при отпускании педали газа.
- Из впускного коллектора раздаются нехарактерные звуки хлопков. Иногда они проявляются время от времени, когда водитель жмет на педаль газа.
- Появление индикатора Чек Энджин на приборке. Лампочка может произвольно отключаться или гореть постоянно.
Канал IZO))) LENTA рассказал о симптомах неполадок в работе контроллера положения дроссельной заслонки.



